| 兰山区投资促进服务中心政府信息公开指南 | ||||||||||||||||||||||||||||||
| 2026年03月25日 作者:佚名 点击数: | ||||||||||||||||||||||||||||||
|
||||||||||||||||||||||||||||||
|
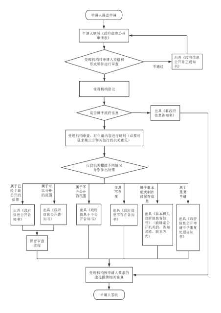
为便于公民、法人和其他组织及时、准确获取兰山区投资促进服务中心(“兰山区投资促进服务中心”以下简称“本机关”)的政府信息,提高政府工作的透明度,建设法治政府,充分发挥政府信息对人民群众生产、生活和经济社会活动的服务作用,根据《中华人民共和国政府信息公开条例》(国务院令第492号公布,国务院令第711号修订,以下简称《条例》),编制本指南。 为方便公民、法人或者其他组织查询本机关主动和依申请公开的政府信息,可以在兰山区人民政府网站(http://www.lyls.gov.cn/)上查阅本《指南》。 本《指南》将根据情况变化和需要进行更新。 一、信息分类和编排体系 本机关在职责范围内,负责主动或依申请公开下列各类政府信息: (一)机构职能 主要包括:本机关机构设置及主要职能情况;机构领导及分工情况;内设机构设置及职能情况;下(直)属单位设置及职能情况等。 (二)政策法规 主要包括:由本省市制定、与本机关职责相关的地方性法规、规章;由区政府发布、与本机关职责相关的规范性文件等。 (三)规划计划 主要包括:国民经济和社会发展规划、专项规划、区域规划;本机关阶段性工作计划、工作方案等。 (四)业务工作 主要包括:全区投资促进、招商引资、优化营商环境相关业务的辅助工作,全区招商引资的工作动态和公示公告等。 (五)统计数据 主要包括:财政预算、决算报告;招商引资统计信息;专项统计报告;年鉴等。 (六)其他 本机关职责范围内依法应当公开的其他信息。 二、获取形式 (一)主动公开 本机关主动公开的政府信息范围,详见《目录》。 1.公开形式 (1)兰山区政府网(http://www.lyls.gov.cn) (2)“创投兰山”(微信公众号账户:创投兰山)。 (3)政府信息查阅点:(地址:临沂市兰山区金雀山路57号区政府大院4号楼三楼;联系方式:0539-8302178;查阅服务时间:周一至周五夏季:8:30—17:30 冬季:8:30—17:00,节假日除外) (4)《兰山区人民政府公报》,可登录兰山区政府门户网站的“政府公报专题专栏”(http://www.lyls.gov.cn/gk2/zfgb.htm)查阅政府公报电子版。 (5)其他:报刊、电视等。 2.公开时限 本机关主动公开的政府信息,自政府信息形成或者变更之日起20个工作日内予以公开。法律、法规对政府信息公开的期限另有规定的,从其规定。 (二)依申请公开 除本机关主动公开的政府信息外,公民、法人或者其他组织可以向本机关申请获取相关政府信息。 1.本机关政府信息公开申请受理机构 机构名称:临沂市兰山区投资促进服务中心办公室 办公地址:临沂市兰山区金雀山路57号区政府大院4号楼三楼 办公时间:8:30-12:00,14:00-17:30(夏季,节假日除外); 8:30-12:00,13:30-17:00(冬季,节假日除外); 联系电话:0539-8302897 邮政编码:276000 电子邮箱:lsqtzcj2022@163.com(电子邮箱仅用于咨询,提交信息公开申请请使用在线申请渠道) 2.申请人可以通过以下三种渠道提出政府信息公开申请: (1)当面申请:申请人可以到临沂市兰山区投资促进服务中心办公室,当面提交政府信息公开申请。 地址:临沂市兰山区金雀山路57号区政府大院4号楼三楼 办公时间:8:30-12:00,14:00-17:30(夏季,节假日除外); 8:30-12:00,13:30-17:00(冬季,节假日除外); 联系电话::0539-8302897 (2)邮政寄件申请:申请人通过邮政寄送方式提出申请的,请在信封左下角注明“政府信息公开申请”的字样。 地址:临沂市兰山区金雀山路57号 联系电话:0539-8302897 (3)兰山区政府门户网站申请:申请人可以通过兰山区政府门户网站“公开”专栏“依申请公开”页面的在线服务功能填写《临沂市兰山区政府信息公开申请表》提交申请。链接为:http://www.lyls.gov.cn/ysqgk/front/frontDeskDept?dept=4875。申请人成功提交申请后,请妥善保存电子回执,以便查询申请办理情况。 本机关不直接受理通过电话、短消息等方式提出的申请,但申请人可以通过电话咨询相应的服务业务。 3.申请注意事项 (1)申请获取政府信息,应当填写《临沂市兰山区政府信息公开申请表》,申请表可在公开申请受理机构处领取或在“兰山区政府网站”门户网站政府信息公开专栏下载打印(《临沂市兰山区政府信息公开申请表》电子版见附件1)。 (2)申请表应准确载明申请人的姓名或者名称、联系方式、获取政府信息的方式及其载体形式。所需政府信息内容描述应当指向明确,建议详尽提供所需政府信息的名称、文号或者便于行政机关查询的其他特征性描述。 (3)当面申请的,应当出示有效身份证件;通过邮政寄送提交申请的,应随申请表附有效身份证件复印件;网上申请的,应上传有效身份证件扫描件或照片。 4.申请处理 本机关收到公民、法人或者其他组织提出的政府信息公开申请后,根据需要,可通过相应方式对申请人身份进行核对,同时将从形式上对申请的要件是否完备进行审查,对于要件不完备的申请予以退回,要求申请人补正信息。 本机关处理政府信息公开申请流程图。
对于符合《条例》申请要求的,按《条例》第三十六条分别作出答复。 (1)所申请公开信息已经主动公开的,告知申请人获取该政府信息的方式和途径。 (2)所申请公开信息可以公开的,向申请人提供该政府信息,或者告知申请人获取该政府信息的方式、途径和时间。 (3)根据相关规定决定不予公开的,告知申请人不予公开并说明理由。 (4)经检索没有所申请公开信息的,告知申请人该政府信息不存在。 (5)所申请公开信息不属于本机关负责公开的,告知申请人并说明理由;能够确定负责公开该政府信息的行政机关的,告知申请人该行政机关的名称、联系方式。 (6)本机关已就申请人提出的政府信息公开申请作出答复、申请人重复申请公开相同政府信息的,告知申请人不予重复处理。 (7)所申请公开信息属于工商、不动产登记资料等信息,有关法律、行政法规对信息的获取有特别规定的,告知申请人依照有关法律、行政法规的规定办理。 本机关办理申请人政府信息公开申请时,能够当场答复的,将当场答复;不能当场答复的,自收到申请之日起20个工作日内予以答复;确需延长答复期限的,延长答复时间不超过20个工作日,并告知申请人。《条例》另有规定的,从其规定。 本机关依申请提供信息时,根据掌握该信息的实际状态进行提供,不对信息进行加工、统计、研究、分析或者其他处理。 5.收费标准 本机关依申请提供政府信息,按照《国务院办公厅关于印发<政府信息公开信息处理费管理办法>的通知》(国办函〔2020〕109号)和《山东省人民政府办公厅关于做好政府信息公开信息处理费管理工作有关事项的通知》(鲁政办字〔2020〕179号)收取信息处理费。 三、不予公开 1.依法确定为国家秘密的政府信息,法律、行政法规禁止公开的政府信息,以及公开后可能危及国家安全、公共安全、经济安全、社会稳定的政府信息,不予公开。 2.涉及商业秘密、个人隐私等公开会对第三方合法权益造成损害的政府信息,本机关不予公开。但是,第三方同意公开或者本机关认为不公开会对公共利益造成重大影响的,予以公开。 3.本机关的内部事务信息,包括人事管理、后勤管理、内部工作流程等方面的信息不予公开。 4.本机关在履行行政管理职能过程中形成的讨论记录、过程稿、磋商信函、请示报告等过程性信息以及行政执法案卷信息,不予公开。法律、法规、规章规定上述信息应当公开的,从其规定。 四、政府信息公开工作机构 临沂市兰山区投资促进服务中心政府信息公开工作机构为:临沂市兰山区投资促进服务中心办公室 办公地址:临沂市兰山区金雀山路57号4号楼三楼邮政编码:276000 办公时间:8:30-12:00,14:00-17:30(夏季,节假日除外); 8:30-12:00,13:30-17:00(冬季,节假日除外); 联系电话:0539-8302897 电子邮箱:lsqtzcj2022@163.com 五、监督保障 (一)监督渠道: 公民、法人或其他组织认为本机关未依法履行政府信息公开义务的,可以向临沂市兰山区人民政府投诉举报。 受理机构:临沂市兰山区人民政府办公室政务公开科 办公地址:临沂市兰山区金雀山路57号 邮政编码:276000 办公时间:8:30-12:00,14:00-17:30(夏季,节假日除外); 8:30-12:00,13:30-17:00(冬季,节假日除外); 联系电话:0539-8196766 传真:0539-8185652 电子邮箱:lsqzfbgsdzzwk@ly.shandong.cn (二)救济渠道: 公民、法人或其他组织认为本机关未依法履行政府信息公开义务的: (1)行政复议机关:临沂市兰山区人民政府 受理机构:临沂市兰山区人民政府行政复议办公室 办公地址:临沂市兰山区金雀山路51号 邮政编码:276000 办公时间:8:30-12:00,14:00-17:30(夏季,节假日除外); 8:30-12:00,13:30-17:00(冬季,节假日除外); 联系电话:0539-8315026 (2)行政诉讼机关:临沂市兰山区人民法院 办公地址:临沂市沂蒙路199号 邮政编码:276000 办公时间:8:30-12:00,14:00-17:30(夏季,节假日除外); 8:30-12:00,13:30-17:00(冬季,节假日除外); 联系电话:0539-8222619 |
||||||||||||||||||||||||||||||
|
附件【附件2:兰山区处理政府信息公开申请流程图.doc】 附件【附件1:兰山区政府信息公开申请表.doc】 |
||||||||||||||||||||||||||||||
| 【关闭窗口】 | ||||||||||||||||||||||||||||||
智能问答

